Australian Owned & Operated
Bicycle Tools
Brushes
Chisels & Punches
Cutters & Pliers
Cutting Tools
Engineering & Precision Tools & Supplies
Files
Hammers
Insulated Hand Tools
Measuring Tools
Pry Bars
Saws
Screwdrivers & Fastening
Spanners, Shifters & Wrenches
Strippers & Crimpers
Tap & Dies
Torque Tools
Miscellaneous Hand Tools
Automotive Battery Care & Chargers
Automotive Bodywork & Windscreen Tools
Automotive Engine Service Tools
Automotive Pullers
Mechanics & Automotive Socketry
Mechanics Oil Change Equipment
Vehicle Brake Maintenance Tools
Vehicle Cooling Equipment
Vehicle Engine & Transmission Tools
Vehicle Steering, Suspension & Wheel Tools
Vehicle Workshop Equipment
Air Tools & Accessories
Batteries & Chargers
Heat Guns
Impact Wrenches
Power Tool Accessories
Gloves
Sockets
Socket Sets
Socket Bits
Socket Drivers
Impact Socketry
Insulated Socketry
Rail Socket Sets
Ratchets
Extension Bars
Convertors & Universal Joints
T-Bars
Flexible Handles
Automotive Socketry
Socket Trays & Retaining Bars
Cabinets & Tool Chests
Parts Bins & Stands
Pouches
Tool Bags
Tool Boxes
Tool Cases
Tool Holders
Tool Kits
Tool Sets
Tool Trolleys
Bricklaying Tools
Carpenters & Joiners Tools
Electrician's Tools
Power Tools
Groundworking & Structural Tools
Painting & Decorating Tools
Plumbing & Central Heating Equipment
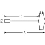
Discover the Hazet 428-10 Nut-Driver with T-Handle 10mm at OZ SWISS EUROPEAN TOOLS – your trusted source for quality tools and equipment!
Diameter: 14 mm
Handle: Ergonomically shaped HAZET 2-component T-handle
Length l1: 230 mm
Surface: chrome-plated
Dimensions / length: 264 mm
Wrench size: 10 mm
SHIPPINGA delivery and handling charge applies to all orders with the exception of back-ordered items.Unless otherwise required by Buyer, Seller will make transport arrangements as follows:
For deliveries within the metropolitan areas of mainland State capital cities a standard freight charge may be added to invoice; goodsFor delivery outside those areas, seller will select the transport to be used and prepay freight for Buyer. Seller will then bill Buyer for freight at Seller's discretion.Should the Buyer request goods be sent to a Post Office box the Buyer acknowledges this method is the only available and therefore the Seller is not liable for undelivered goods.If only part of the order is in stock, the customer has the option of paying for a second delivery if they require a partial shipment prior to all goods becoming available. OzSwiss European Tools reserves the right to charge additional freight in the event of hazardous, bulky or heavy items ordered.
DELIVERY TIME
All quoted delivery or consignment dates are estimates only, given without engagement.
Delay in consignment of any part of an order shall not relieve Buyer of its obligation to accept and pay for the remainder of the order.
Except as provided in paragraph 1.2 of Terms & Conditions, seller will not be liable to pay damages or compensation for any injury or loss sustained by Buyera) in the event of a delay in consignment or delivery of goods: orb) in the event of non delivery.Goods offered ex-stock by Seller are subject to prior sale.In the event of any happening beyond Seller's reasonable control in consequence of which Seller cannot effect consignment by the time or times quoted or specified, Seller shall be entitled to consign part only of an order, suspend consignment or extend the time for consignment, for the period during which such cause of delay operates, or may cancel the order, and in the event of such suspension, extension or cancellation, Seller shall not be liable for damages.